每日经济新闻

    小米汽车大动作!首款Vision Gran Turismo概念车发布

    每日经济新闻 2026-03-01 15:53

    每经记者|李星    每经编辑|陈柯名 裴健如 向江林    

    北京时间2月28日晚,小米集团全球发布会在巴塞罗那举行。期间,小米汽车正式发布了旗下首款Vision Gran Turismo概念车型——Xiaomi Vision Gran Turismo(以下简称小米Vision GT),新车将在MWC世界移动通信大会上亮相。

    GXaOuDJovOqiciaHLbOQRms8pRKrEph2RHaQPQ7RZS3HD3LDGCbT3eKoLe8Zpz6azK1jZ8rJic4ylcHJjQPfpicLwdH9xibTX3lYhgAU1e3ccdNM.jpg图片来源:企业供图

    据悉,这款概念车是小米应《Gran Turismo》系列制作人邀请,为GT模拟驾驶平台特别打造的纯电动智能概念超跑。

    去年6月,在Gran Turismo世界系列赛2025揭幕战现场,Polyphony Digital正式宣布,已与小米达成合作,旗下赛车游戏《Gran Turismo 7/ 跑车浪漫旅7》将收录小米汽车开发的高性能智能电动汽车Xiaomi SU7 Ultra。彼时,小米汽车方面就曾表示,未来,小米还将会与Gran Turismo一起打造Xiaomi Vision Gran Turismo概念车。

    “本次Xiaomi Vision GT项目让小米汽车全球设计团队能够站在科技公司的角度来思考超级跑车的设计、打破现实世界的约束,对未来终极驾驶体验展开畅想。”小米汽车工业设计总经理、首席设计师李田原表示。

    GXaOuDJovOoNiafdNiahMCSeCGhhQRXRha2uSj0jKuicdwx7cJia6BiaXvCUPTB3MvSk87R3BIPzWL1BzOgLtupz0KkwdbP4L47lwC32goib3FmHc.jpg图片来源:企业供图

    据悉,Vision Gran Turismo项目专注于对未来终极驾驶体验的畅想,设计并打造代表品牌终极梦想的概念车。小米成为了继布加迪、法拉利、保时捷等品牌后第36个加入该概念车项目的品牌,也是首个受邀参与该项目的中国品牌,首个以科技公司身份参与的品牌。

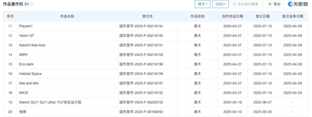
    《每日经济新闻》记者查阅天眼查发现,早在去年7月,小米汽车科技有限公司就完成了多项美术作品的著作权登记,涉及名称包括 Xiaomi Vision GT Concept、Vision GT以及Xiaomi-Star-Axis等。这一系列知识产权布局,被业内视为小米汽车在为其Vision GT概念车的正式亮相提前“铺路”。

    GXaOuDJovOqVV2YmrKMLJSxKa8uoiaqSiccWwAceJRmB67fM6D9sehDIuTH1CwpaWClR5YFSREiaOuzD8hX4tjibPs2SqVV5gvtYqh469tzN22E.jpg图片来源:天眼查

    李田原表示,小米Vision GT项目是小米汽车的设计探索项目,它既在空气动力学上寻求突破,也展现了小米汽车在电动化、智能化上的思考。

    目前,小米汽车在售的车型有两款,分别为小米SU7、小米YU7。官方数据显示,2025年,小米汽车累计交付量超41万辆。3月1日,小米汽车公布的最新数据显示,2026年2月,小米汽车交付量超过2万辆。小米汽车方面表示,公司正在为新一代SU7大规模量产做准备。

    GXaOuDJovOq43WcRrKZhChBGTa1lcuohjNDHeywgZ1ibj5pboczhxJbTHoTYxLWobTbnI2fV8LlfMVtEXJRd62icP6hoCddkLbfgaVA80AsYs.jpg图片来源:新浪微博(@小米汽车)

    1月7日,小米汽车宣布,新一代SU7开启小订,新车计划于2026年4月上市。与老款SU7相比,新一代SU7标准版和Pro版售价上涨1.4万元,Max版售价上涨1万元。

    据小米集团创始人、董事长兼CEO雷军此前披露的信息,小米汽车在2026年的交付目标为55万辆。

    记者|李星 

    编辑|陈柯名 裴健如 向江林 杜恒峰

    校对|张益铭 

    封面图来源:视觉中国

    CFF20LXzkOyYmal29zn37N5Bg2NQ4tyN4ylvMFyM3VmF4x90Uj4cDmoEphibia4RN55ibIXmqU1Od9w2Q5nhA08lA.png

     

     

     

     

     

     

     

    |每日经济新闻  nbdnews  原创文章|

     

    未经许可禁止转载、摘编、复制及镜像等使用

     

    版权声明

    1本文为《每日经济新闻》原创作品。

    2 未经《每日经济新闻》授权,不得以任何方式加以使用,包括但不限于转载、摘编、复制或建立镜像等,违者必究。

    上一篇

    知情人士:美方已跟踪哈梅内伊活动轨迹数月,军事打击前中情局就已锁定其可能行踪!沙特股市早盘大跌;特朗普最新发声

    下一篇

    中国天楹:签订全球首单电制甲醇供货订单,绿色甲醇产品正式进入国际主流能源企业供应体系



    分享成功
    每日经济新闻客户端
    一款点开就不想离开的财经APP 免费下载体验