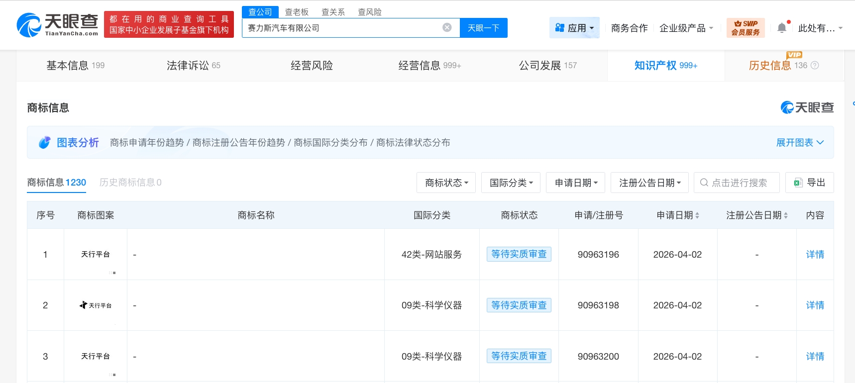
每经AI快讯,天眼查知识产权信息显示,近日,赛力斯汽车有限公司申请注册三枚“天行平台”商标,国际分类为科学仪器、网站服务,当前商标状态均为等待实质审查。赛力斯汽车有限公司成立于2012年9月,法定代表人为岑远川,注册资本约106.4亿人民币,经营范围含互联网信息服务、软件开发、人工智能基础软件开发、数据处理和存储支持服务、信息技术咨询服务等。股东信息显示,该公司由赛力斯(601127)、国开制造业转型升级基金(有限合伙)、工银金融资产投资有限公司等共同持股。



1本文为《每日经济新闻》原创作品。
2 未经《每日经济新闻》授权,不得以任何方式加以使用,包括但不限于转载、摘编、复制或建立镜像等,违者必究。